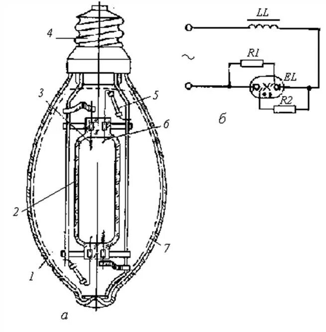
Устройство лампы дрл

Устройство, принцип действия, схема включения лампы дрл. Схема подключения газоразрядной лампы дрл 250. Лампы люминесцентные дуговые ртутные высокого давления типа дрл 250(6)-4. Лампа дрл 250вт. Устройство дуговой ртутной лампы.
Устройство, принцип действия, схема включения лампы дрл. Схема подключения газоразрядной лампы дрл 250. Лампы люминесцентные дуговые ртутные высокого давления типа дрл 250(6)-4. Лампа дрл 250вт. Устройство дуговой ртутной лампы.
Лампы люминесцентные дуговые ртутные высокого давления типа дрл 250(6)-4. Лампы люминесцентные дуговые ртутные высокого давления дрл 125-хл1. Лампы люминесцентные дуговые ртутные высокого давления типа дрл 250(6)-4. Схема включения ламп типа дрл. Схема подключения лампы дрл 250.
Лампы люминесцентные дуговые ртутные высокого давления типа дрл 250(6)-4. Лампы люминесцентные дуговые ртутные высокого давления дрл 125-хл1. Лампы люминесцентные дуговые ртутные высокого давления типа дрл 250(6)-4. Схема включения ламп типа дрл. Схема подключения лампы дрл 250.
Устройство лампы дрл. Схема включения. Лампы люминесцентные дуговые ртутные высокого давления дрл 1000(12)-3. Устройство лампы дрл. Ртутная лампа принцип работы.
Устройство лампы дрл. Схема включения. Лампы люминесцентные дуговые ртутные высокого давления дрл 1000(12)-3. Устройство лампы дрл. Ртутная лампа принцип работы.
Лампа дуговая ртутная дрл-400 ухл1. Конструкция лампы дрл. Ртутные лампы высокого давления. Устройство лампы дрл. Лампа ртутная высокого давления дрл 125 вт.
Лампа дуговая ртутная дрл-400 ухл1. Конструкция лампы дрл. Ртутные лампы высокого давления. Устройство лампы дрл. Лампа ртутная высокого давления дрл 125 вт.
Лампы дуговые ртутные люминофорные высокого давления дрл-250(6)-4. Конструкция люминесцентной лампы высокого давления дрл. Устройство лампы дрл. Устройство лампы дрл. Устройство лампы дрл.
Лампы дуговые ртутные люминофорные высокого давления дрл-250(6)-4. Конструкция люминесцентной лампы высокого давления дрл. Устройство лампы дрл. Устройство лампы дрл. Устройство лампы дрл.
• газоразрядные лампы высокого давления(дуговые ртутные лампы –дрл). Схема включения газоразрядной лампы высокого давления. Лампа дрл 250вт е40 схема включения. Конструкция лампы дрл. Схема подключения лампы дрл.
• газоразрядные лампы высокого давления(дуговые ртутные лампы –дрл). Схема включения газоразрядной лампы высокого давления. Лампа дрл 250вт е40 схема включения. Конструкция лампы дрл. Схема подключения лампы дрл.
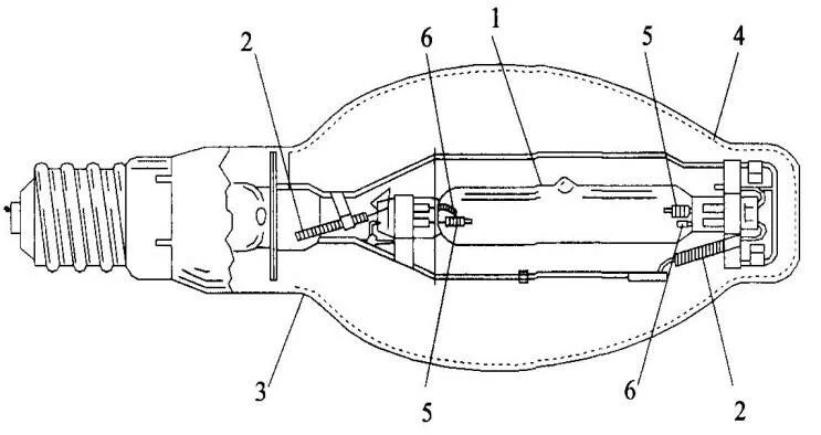
Дуговая ртутная лампа высокого давления (дрл). Конструкция люминесцентной лампы высокого давления дрл. Строение дуговой ртутной лампы. Лампы люминесцентные дуговые ртутные высокого давления дрл 250-хл1. Дуговая ртутная лампа высокого давления (дрл).
Дуговая ртутная лампа высокого давления (дрл). Конструкция люминесцентной лампы высокого давления дрл. Строение дуговой ртутной лампы. Лампы люминесцентные дуговые ртутные высокого давления дрл 250-хл1. Дуговая ртутная лампа высокого давления (дрл).
Лампы люминесцентные дуговые ртутные высокого давления дрл 1000(12)-3. Лампы люминесцентные дуговые ртутные высокого давления дрл 125-хл1. Устройство лампы дрл. Устройство лампы дрл. Устройство лампы дрл.
Лампы люминесцентные дуговые ртутные высокого давления дрл 1000(12)-3. Лампы люминесцентные дуговые ртутные высокого давления дрл 125-хл1. Устройство лампы дрл. Устройство лампы дрл. Устройство лампы дрл.
Ртутная газоразрядная лампа дрл схема. Лампы люминесцентные дуговые ртутные высокого давления типа дрл 250(6)-4. Лампы люминесцентные дуговые ртутные высокого давления дрл 125(15). Конструкция дуговой ртутной люминесцентной лампы. Дуговая ртутная лампа высокого давления.
Ртутная газоразрядная лампа дрл схема. Лампы люминесцентные дуговые ртутные высокого давления типа дрл 250(6)-4. Лампы люминесцентные дуговые ртутные высокого давления дрл 125(15). Конструкция дуговой ртутной люминесцентной лампы. Дуговая ртутная лампа высокого давления.
Конструкция дуговой ртутной люминесцентной лампы. Устройства дуговой ртутной лампы схема. Лампы люминесцентные дуговые ртутные высокого давления дрл 125-хл1. Устройства дуговой ртутной лампы схема. Ртутная газоразрядная лампа дрл схема.
Конструкция дуговой ртутной люминесцентной лампы. Устройства дуговой ртутной лампы схема. Лампы люминесцентные дуговые ртутные высокого давления дрл 125-хл1. Устройства дуговой ртутной лампы схема. Ртутная газоразрядная лампа дрл схема.
Устройства дуговой ртутной лампы схема. Строение дуговой ртутной лампы. Ртутная газоразрядная лампа дрл схема. Дрл лампа принцип действия. Схема включения лампы дрл-250.
Устройства дуговой ртутной лампы схема. Строение дуговой ртутной лампы. Ртутная газоразрядная лампа дрл схема. Дрл лампа принцип действия. Схема включения лампы дрл-250.
Ламп типа дрв схема включения. Схема подключения лампы дрл. Схема лампочки дрл 250. Устройство дуговой ртутной лампы. Лампы люминесцентные дуговые ртутные высокого давления типа дрл 125.
Ламп типа дрв схема включения. Схема подключения лампы дрл. Схема лампочки дрл 250. Устройство дуговой ртутной лампы. Лампы люминесцентные дуговые ртутные высокого давления типа дрл 125.
Схема лампы дрл 250. Устройство лампы дрл. Как устроена лампа дрл 250. Лампы люминесцентные дуговые ртутные высокого давления дрл 125-хл1. Лампы дуговые ртутные люминофорные высокого давления дрл-250(6)-4.
Схема лампы дрл 250. Устройство лампы дрл. Как устроена лампа дрл 250. Лампы люминесцентные дуговые ртутные высокого давления дрл 125-хл1. Лампы дуговые ртутные люминофорные высокого давления дрл-250(6)-4.
Устройство лампы дрл. • газоразрядные лампы высокого давления(дуговые ртутные лампы –дрл). Устройство лампы дрл. Ртутная разрядная лампа высокого давления. Устройство лампы дрл.
Устройство лампы дрл. • газоразрядные лампы высокого давления(дуговые ртутные лампы –дрл). Устройство лампы дрл. Ртутная разрядная лампа высокого давления. Устройство лампы дрл.
Лампа газоразрядная ртутная дрл 700вт e40. Лампы люминесцентные ртутные низкого давления (газоразрядные). Лампы люминесцентные дуговые ртутные высокого давления дрл 1000(12)-3. Устройство лампы дрл. Устройство лампы дрл.
Лампа газоразрядная ртутная дрл 700вт e40. Лампы люминесцентные ртутные низкого давления (газоразрядные). Лампы люминесцентные дуговые ртутные высокого давления дрл 1000(12)-3. Устройство лампы дрл. Устройство лампы дрл.
Схема лампы дрл 250. Устройство лампы дрл. Устройство лампы дрл. Схема лампы дрл. Принцип работы лампы дрл.
Схема лампы дрл 250. Устройство лампы дрл. Устройство лампы дрл. Схема лампы дрл. Принцип работы лампы дрл.
Дуговая ртутная лампа схема подключения. Устройство лампы дрл. Устройство лампы дрл. Газоразрядная ртутная лампа строение. Устройство лампы дрл.
Дуговая ртутная лампа схема подключения. Устройство лампы дрл. Устройство лампы дрл. Газоразрядная ртутная лампа строение. Устройство лампы дрл.
Лампа дрл 400 конструкция. Устройства дуговой ртутной лампы схема. Лампа дрв 250 схема включения. Лампа дрл 400 конструкция. Дрл 125 схема подключения.
Лампа дрл 400 конструкция. Устройства дуговой ртутной лампы схема. Лампа дрв 250 схема включения. Лампа дрл 400 конструкция. Дрл 125 схема подключения.
Лампа дрв 250 схема включения. Конструкция лампы дрл. Конструкции газоразрядных ламп высокого давления. Устройство лампы дрл. Устройство лампы дрл.
Лампа дрв 250 схема включения. Конструкция лампы дрл. Конструкции газоразрядных ламп высокого давления. Устройство лампы дрл. Устройство лампы дрл.
Ртутная разрядная лампа высокого давления. Устройство дуговой ртутной лампы. Устройство лампы дрл. Лампы дуговые ртутные люминофорные высокого давления дрл-250(6)-4. Схема включения газоразрядной лампы высокого давления.
Ртутная разрядная лампа высокого давления. Устройство дуговой ртутной лампы. Устройство лампы дрл. Лампы дуговые ртутные люминофорные высокого давления дрл-250(6)-4. Схема включения газоразрядной лампы высокого давления.